判了 !今日头条诉「今日油条」案,法院判定不构成商标侵权 ......

2024-04-29

知识产权热点播报【第34期】来啦,快和大麦一起来学习打卡吧!




1、法院判定今日油条不构成商标侵权

4月24日消息,广州市知识产权工作领导小组近日发布“2023年广州知识产权保护十大典型案例”。其中案例一系“今日头条”诉“今日油条”案。

报道称,北京抖音信息服务有限公司主张其持有的今日头条、头条等注册商标在“计算机软件”等商品服务上构成驰名商标,起诉河南某某油条餐饮管理有限公司等在售卖油条等食品中使用油条、今日油条标识侵害其商标权及构成不正当竞争,请求判令被告停止侵权、消除影响并赔偿经济损失200万元。

今日头条.jpg

广州知识产权法院一审认定各被告不构成商标侵权,亦不构成不正当竞争,判决驳回北京抖音信息服务有限公司的诉讼请求。

北京抖音信息服务有限公司不服一审判决提出上诉,后又主动撤回上诉,一审判决生效。

据悉,不止于名字,今日油条设计了与今日头条LOGO及其App界面高度相似的店面,还有与今日头条“你关心的才是头条”相似的标语:“关心你的才是好油条”。

不仅如此,在食品、餐饮住宿、方便食品等类目,今日油条公司申请了今日面条、饼多多、快手抓饼、明日油条等16个商标,上述商标均没有注册成功。

今日.jpg






2、山东拥有地理标志达869件,居全国首位

今年4月26日是第24个世界知识产权日,4月23日上午,山东省人民政府新闻办公室举行新闻发布会,邀请山东省市场监督管理局负责同志等介绍全省知识产权发展与保护状况。

据介绍,截至2023年底,全省发明专利拥有量23.96万件、每万人口高价值发明专利拥有量达到8.57件,同比分别增长26.5%、31.7%;有效注册商标264.3万件,同比增长9.9%。其中,地理标志商标869件,数量居全国首位。全省著作权作品年登记数量87万件。







3、“山寨”CoCo奶茶店侵犯商标权被判赔5万元

CoCo奶茶品牌受到商家蹭热度,营业执照出租现象频发,4月24日,澎湃新闻记者从上海市黄浦区人民法院获悉这一侵犯商标权案件。

被告饮品店出借执照和食品经营许可证给郑某,后者不规范使用“CoCo”字样和“奶茶三兄弟”产品。法院认定被告侵犯商标权,判决其赔偿原告经济损失及维权费用5万元,饮品店因出借执照承担连带赔偿责任。
coco.png






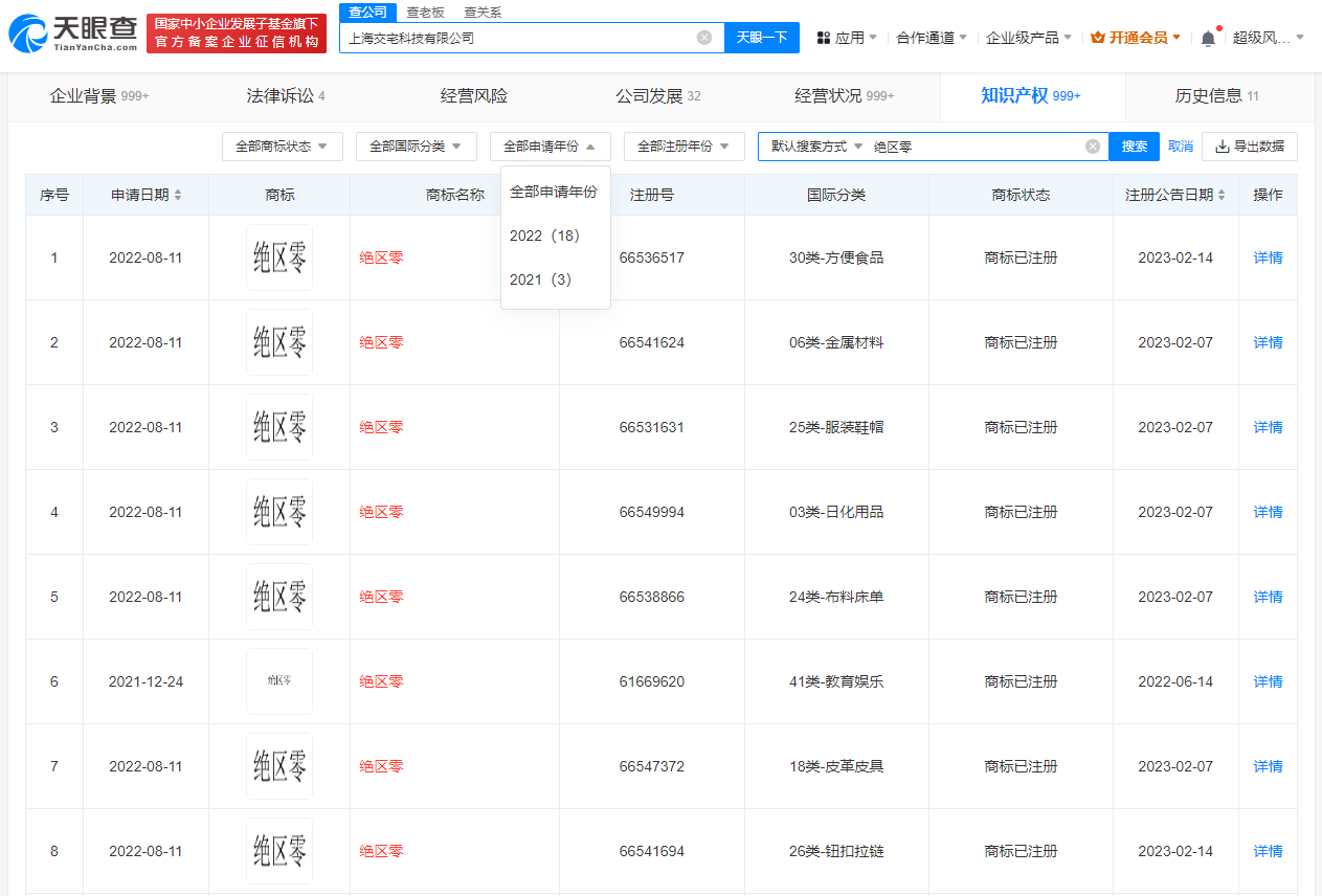
4、米哈游子公司已注册绝区零商标

据媒体报道,米哈游最新力作《绝区零》将于7月4日正式上线,截至目前,该游戏全球预约人数已突破3000万。

天眼查知识产权信息显示,米哈游全资子公司已分别于2021年、2022年申请注册多枚“绝区零”商标,国际分类涉及教育娱乐、广告销售、网站服务等,当前商标状态均为已注册。
米哈.png
米哈1.png






5、雾芯科技申请全球专利近1000件

4月25日,世界知识产权日前夕,记者从RELX悦刻(雾芯科技)获悉,悦刻已在全球申请专利近1000件。

据了解,悦刻的专利布局覆盖电子雾化器设计、雾化液配方、释放物安全、智能化等领域。悦刻注重合规与创新,如插拔式童锁专利可防止儿童接触。

其专利技术还提高了产品组装效率,减少碳排放,助力实现碳中和目标。悦刻拥有全面升级的研发体系,形成“四位一体”技术路径,发起近50个科研项目,并与多所高校、机构合作,共开展17项对外合作科研项目,发表11篇科研论文。
悦刻.jpg






6、“懂球帝”商标被知名体育平台“直播吧”竞得

4 月 28 日,北京多格科技有限公司持有的 " 懂球帝 " 等 40 个商标最终以 2091.8624 万元成交。竞得者为国内知名体育平台 " 直播吧 " 的运营公司厦门傲播网络科技有限公司。

懂球帝曾为国内最大的足球论坛,近年来其全资股东北京多格科技有限公司经纪纠纷不断。

阿里拍卖显示,本次懂球帝相关商标拍卖,其评估工作始于 2023 年 8 月份,依据为北京市一中院执行的(2023)京 01 执 293 号《北京天星开元投资中心(有限合伙)与北京多格科技有限公司仲裁一案》。






7、太极股份提交“三维标志”等5件商标注册申请

近日太极计算机股份有限公司新提交“三维标志”等5件商标注册申请。商标申请详情如下:

今年以来太极计算机股份有限公司新申请注册商标11件,截止目前公司共持有注册商标238件,另有31件商标尚在注册申请中。
太极.png







8、中国是全球PCT国际专利申请量最大来源国


28日,中国贸促会召开4月例行新闻发布会,会上发布了3月全球知识产权保护指数月度观察报告。中国贸促会新闻发言人赵萍介绍了观察报告的三个主要发现:


知识产权政策措施方面,中国加强版权执法,2023年检查实体市场单位72.36万家次,查办侵权盗版案件2785件。德国数据显示,中国公开专利申请量增长15%。

全球治理方面,中国是全球PCT专利申请最大来源国,华为PCT申请量居全球第一,宁德时代增长最快。

国际合作上,中国国家知识产权局与澳大利亚知识产权局签署合作备忘录,促进两国创新合作。




温馨提示:本文所引用的文章、使用的图片来自网络,已注明出处,不用于商业目的,版权归原作者所有。如有不妥,请留言告知。感谢!


有任何知识产权问题,欢迎咨询大麦知识产权!

风里雨里,大麦知识产权一直在您跨境品牌出海、产品出海路上,陪伴着您!