美国专利下证10年,这款产品又双叒叕火了 !侵权风险极高 !!!

2024-03-08

水果沙拉是夏日聚会休闲不可缺少的美食,但不少人感到困惑,在制作水果沙拉时,很难将水果均匀地切成小片,以达到预期的美观。

近日,小编在浏览亚马逊时,发现了一款热度非常高的香蕉切片器,小巧便捷,目前亚马逊上已留评2265条。


微信截图_20240306112244.png

1、产品卖点分析

方便使用    
采用弧形手柄,符合人体力学设计,几秒钟内可完美切片整个香蕉

安全省力
不锈钢切片,刀片无边缘,不会对手指造成伤害,且底部内置金属弹簧,弹性很强也更省力

适用性强
多个不锈钢金属组成的圆形刀口,不仅适合香蕉,也可以切割火腿肠、黄瓜等,非常实用

微信截图_20240306112308.png


据小编了解,此款香蕉切片器持续火爆已久,小小的产品,究竟拥有何种魔力?接下来跟随小编了解一下它的知产信息吧!




2、产品发明专利详情

此款手持式食品切片机早在2011年1月28日递交申请,2015年11月17日获得美国发明专利的授权,专利号为:US 9,186,806 B2,以下为专利文件图示:

微信截图_20240306135518.png




发明专利独权说明

a.手持式实物切片机,包括具有多个细长指状物的第一手柄,能通过薄刀片接收槽与相邻指状物分开;
第二把手可移动地连接到第一把手,且包含至少三个刀片配件,每个刀片构件具有限定孔的闭合轮廓,可插入细长食品
容器 4.png


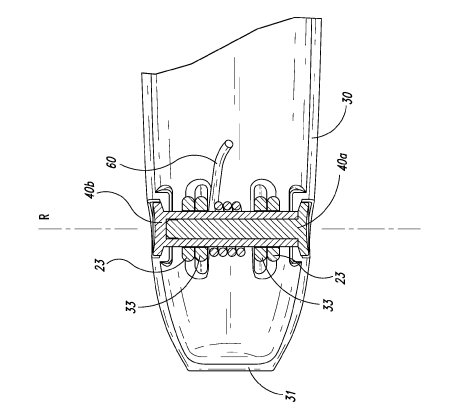
b.刀片的远端 第一手柄与第二手柄的远端至少部分地间隔开,第一手柄的指状物,被配置成当第一和第二手柄从展开构造向压缩构造移动时,穿过邻近刀片构件的食物接收通道

微信截图_20240306141506.png




c.手持式食物切片器还可以包括弹簧,将第一和第二手柄偏向展开配置。枢轴销可将第二把手可旋转地联接到第一把手。 
微信截图_20240306141605.png



卖家朋友注意,此发明专利保护点看似简单,但被投诉风险极高,若您在售产品与该发明专利的技术保护点近似,建议火速下架!

若您不确定自己的产品是否侵权,欢迎留言,我们会帮助您进行产品的侵权对比分析,制定专利侵权规避方案。

若您已不慎被起诉,需要专业的侵权和解服务,可随时咨询大麦!

风里雨里,大麦知识产权一直在您跨境品牌出海、产品出海路上,陪伴着您!