震惊 !SORA的出现惊动整个跨境圈,没想到商标已被注册......

2024-02-26

知识产权热点播报【第26期】来啦,快和大麦一起来学习打卡吧!




1、Sora已被多方注册商标

据天眼查显示,“SORA”已被多方申请注册为商标,申请人包括多家商贸、科技、餐饮等公司及多个自然人,国际分类涉及广告销售、运输工具、日化用品等,当前商标状态多为已注册。

上述商标最早申请于1999年,申请人为株式会社岛野,国际分类为运输工具,该商标已于2000年成功注册。

Sora.png






2、上春山频上热搜,早已被注册为商标


近日,2024 央视春晚歌唱节目《上春山》中,白敬亭、魏大勋、魏晨三位表演者的走位和服装颜色引发网友热议。
 
随着 " 上春山 " 相关话题持续登上各平台热搜,还衍生出 " 春山学 " 等话题,有网友笑言," 这不得注册商标?"" 应该有人已经在准备注册商标了吧,登山用品。"

据了解,其实 " 上春山 " 已被注册成了商标。据天眼查 App 显示,2021 年 9 月," 上春山 " 被深圳春火火供应链管理有限公司申请注册为商标,国际分类包含广告销售、医疗器械、医药,3 枚商标已于 2022 年 2 月、3 月注册成功。







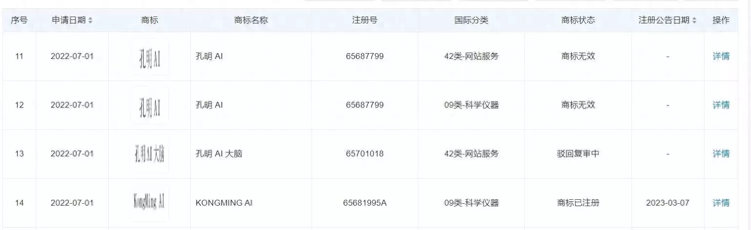
3、魅族已申请注册孔明AI等商标

三言科技 2月18日消息,魅族官方微博宣布将停止传统手机新项目的开发,转型“All in AI”。

天眼查App显示,湖北星纪魅族科技有限公司已申请注册多枚“孔明 AI”“孔明AI大脑”“KONGMING AI”商标,国际分类涵盖科学仪器与网站服务,其中其中部分商标已注册成功。

魅族.webp.jpg




4、华为新专利可进行疲劳驾驶预警

专利信息显示,2月20日,华为技术有限公司申请的“驾驶预警方法和装置”专利公布。

该申请通过智能手表、智能手机以及车载设备联合精准确定驾驶员的清醒时间,并在清醒时间超过一定阈值时对驾驶员进行驾驶预警提示。






5、梅西本人已在中国注册姓名商标


原本热度稍退的梅西香港表演赛未上场事件,因19日晚梅西的再度回应又一次成为热议话题。

这是梅西方面第3次回应该风波。相较前两次表达自己是因伤未上场之外,梅西此番特地强调,对于中国球迷有着“特别感情”。

除了梅西回应内容,其相关商标注册也引发关注。天眼查知识产权信息显示,“梅西”“MESSI”已被多方申请注册为商标,国际分类涉及广告销售、教育娱乐、科学仪器、服装鞋帽、健身器材等,当前部分商标状态为已注册。值得一提的是,上述商标申请人中还包括梅西本人(里奥内尔·安德雷斯·梅西·古奇蒂尼),其已在中国成功注册多枚上述商标。记者查询时发现,其申请日期均在2007年。

除“梅西”外,还包括“梅西先生”“梅西比分”“球王梅西”“里奥梅西”“梅西金靴”等,其中部分商标已完成注册。


梅西.jpg






6、清华大学文生视频专利公布

国家知识产权局网站显示,近日,清华大学申请的 “一种定制化多主体文生视频方法、装置、设备及介质” 专利公布,发明人为王鑫;朱文武;陈虹。

摘要显示,该申请涉及神经网络技术领域,通过多种损失对文生视频模型的参数进行优化,使优化的模型基于文本描述生成视频中的图像时,文本描述与定制化主体保持一致,且在每个主体在生成过程中的特征不会发生混淆的同时消除合成痕迹。






7、热辣滚烫商标被多方抢注

近期,贾玲主演的《热辣滚烫》饱受关注、票房与口碑双丰收,电影上映后,拳击、健身等话题持续引发热议。这股“热辣滚烫”风为健身行业带来爆棚人气的同时,也让更多的创业者嗅到了“热辣滚烫”的商机。

企查查显示,2月18日,齐齐哈尔市新成立一拳击馆起名叫热辣滚烫。此外,如杭州萧山热辣滚烫小吃店、上海热辣滚烫体育科技有限公司、川热辣滚烫餐饮管理有限公司等均以“热辣滚烫”来命名。

目前共有10余条“热辣滚烫”相关的商标申请信息,国际分类涉及教育娱乐、广告销售、餐饮住宿等,申请人包括该电影第一出品方新丽传媒集团有限公司,以及成都某餐饮管理公司、自然人裴某某等,其中部分抢注商标已被驳回。

值得关注的是,早在2019年,在济南历城区就注册成立了一家名为“热辣滚烫”的米线店,目前该店为在业状态。
微信图片_20240224163846.png





8、美国专利商标局拒绝OPENAI将GPT注册商标

近日,美国专利商标局(U.S. Patent and Trademark Office)驳回了OpenAI 申请"GPT"商标的尝试,裁定该词"仅仅是描述性的",因此不能注册。

这对OpenAI的品牌形象是一个打击,ChatGPT无疑是目前人工智能领域最知名的品牌,它是市场上最受欢迎的会话模型,也是最明显地将大型语言模型从好奇变成全球趋势的品牌。

但美国专利商标局认为,该名称不符合注册商标的标准,也不符合在名称后加上"TM"的保护规定。(顺便提一下,他们早在10月份就拒绝过一次,这次是"FINAL"大写拒绝申请)。

正如拒绝文件所说:注册被驳回的原因是所申请的商标仅仅描述了申请人商品和服务的特征、功能或特点。







9、多方抢注姚安娜商标被驳回

近日姚安娜主演的新剧《猎冰》上线,也受到多方关注。

天眼查商标信息显示,姚安娜(姚思为)个人独资的深圳安纳影视音乐工作室已成功注册多个“姚安娜”“ANNABEL YAO”“姚思为”等商标,国际分类涉及广告销售、教育娱乐等。上述商标最初均由华为技术有限公司申请,后转让给该工作室。

此外,“姚安娜”商标还曾被多方申请注册,申请人包括浙江某日化公司、河南某建材公司、陕西某餐饮公司等及多名自然人,不过,这些商标大多已被驳回,处于无效状态。




温馨提示:本文所引用的文章、使用的图片来自网络,已注明出处,不用于商业目的,版权归原作者所有。如有不妥,请留言告知。感谢!



有任何知识产权问题,欢迎咨询大麦知识产权!


风里雨里,大麦知识产权一直在您跨境品牌出海、产品出海路上,陪伴着您!