引领世界 | 中国太阳能电池各类专利申请量全球第一 !!!

2024-01-15

知识产权热点播报【第22期】来啦,快和大麦一起来学习打卡吧!

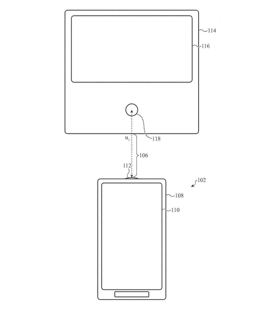
1、苹果AirDrop隔空投诉新专利获批

未来 iPhone之间的通信可以不再依赖蓝牙和 Wi-Fi,根据最新获批的技术专利,苹果正考虑让隔空投送(AirDrop)使用 Li-Fi 传输数据。

苹果曾在 Mac 中使用红外线(IR)发射器 / 接收器,理论上可用于任何短距离数据交换。

但在实际应用中,红外线往往被用于 Siri Remote 等遥控器,因为红外线传输速度较慢,而且设备之间必须相互精确对准。

而苹果公司近日获得了一项名为《用于便携式电子设备的定向自由空间光通信系统中的光学结构》技术专利,虽然在专利中并未提及 Li-Fi 字眼,但从专利描述来看,就是利用这个光通信系统,改善数据传输。

苹果公司表示,只要两台设备距离很近,且处于相互对准的状态,光通信要比传统的 Wi-Fi 或者蓝牙更安全,更快速。

55b62e9c0cda4ab58a9aea9547c1b5ba.png苹果.jpg




2、长飞光纤取得一种光缆制造模具专利

1月8日,据国家知识产权局公告,长飞光纤取得一项名为“一种光缆制造模具”专利,授权公告号CN220305534U。
 
该实用新型的两个动模块之间的距离可以通过拧动螺栓来进行调节,从而可扩大两个动模块之间的距离,进而扩大两个缺口槽之间的空间,可满足生产中并排接续、折弯接续和电焊对接这三种接续方式形成的接头的通过。






3、华为申请“赤兔智能汽车数字平台”商标

近日,华为技术有限公司申请注册“赤兔智能汽车数字平台”商标,当前商标状态为等待实质审查。

这枚商标分类不仅包含网络通信设备、 芯片(集成电路)、 集成电路等,还包含电动运载工具、汽车底盘、无人驾驶汽车、小汽车、自动驾驶汽车、汽车车身、运载工具底架、运载工具底盘等商品 / 服务。

华为.png华为2.png




4、学而思申请主播橙橙商标

1月8日,北京学而思教育科技有限公司申请注册一枚“学而思橙橙”商标,国际分类为广告销售,当前商标状态为等待实质审查。

此外,不久前,学而思旗下学家优品(上海)科技有限公司也申请多枚“橙橙”“吴晨晨”商标,国际分类包括办公用品、教育娱乐、广告销售、食品等,当前商标状态也为等待实质审查。

据悉,去年12月正值“东方甄选”风波时,学而思总裁彭壮壮亮相“学而思优品”直播间,宣布给学而思优品女主播橙橙(本名吴晨晨)升4级加入高管序列,同时为橙橙加薪并发一批股票,并授予其“学而思长公主”的称号。

学而思.webp.jpg



5、中国太阳能电池各类专利申请量全球第一

大陆国家知识产权局日前发布数据显示,目前大陆太阳能电池全球专利申请量为12.64万件,全球排名第一,具备较强的创新实力。

报道称,近年来,大陆太阳能行业专利申请量年均增速达到了23.1%,专利质量也在不断提升,其中太阳能电池的光电转化率,大陆企业已经引领世界。

来自大陆的几家太阳能企业在各自的技术路线上不断创出新高,2023年12月,隆基绿能以27.09%的电池转换效率刷新单结晶硅太阳能电池效率的世界纪录。2012年以来,量产太阳能电池光电转换效率提升超过60%,成本却降低了一半,在很多地方已经实现发一度电仅需要一毛钱的成本。

如今,一些新能源汽车企业已经开始研发把天窗与太阳能发电相结合的技术,给车内动力系统供电;将建筑的玻璃幕墙改造成带有太阳能发电功能,还有太阳能治沙、太阳能养羊、太阳能养鱼等专利技术。这些专利都极大拓展了太阳能发电的市场空间,为全球太阳能产业发展提供了中国智慧。

太阳能.jpg


6、2023年江苏万人发明专利拥有量突破60件

1月9日,记者从全省知识产权系统工作会议上获悉,2023年江苏全省万人发明专利拥有量突破60件,连续8年保持全国省区第一;南京、苏州入选首批国家知识产权保护示范区;全省新增国家知识产权示范企业71家,总数位居全国第一。

2023年,我省突出知识产权转化运用,赋能强链补链延链,布局专利导航服务基地国家级7个、省级10个、市级33个,实现先进制造业集群全覆盖。

江苏.jpg



7、王者荣耀直播版权将向抖音开放

1 月 9 日消息,一位接近腾讯天美工作室群的人士表示,天美内部已经确定将为头部主播张大仙抖音直播《王者荣耀》放行。此外,该游戏的直播版权也将对抖音进一步开放。两家分别位于广东和四川的直播机构表示,抖音平台上《王者荣耀》的直播权限最快有望在一个月内逐渐开放。
 
一位从事抖音直播相关业务多年的人士透露,有负责《王者荣耀》生态的工作人员正在与其商讨游戏在抖音平台上的合作,并表明相关业务虽然处于早期测试阶段,但“预算相当充足”!

微信截图_20240113161835.png



8、荣耀申请3枚“荣耀鸿燕”商标

1月11日,荣耀发布Magic6 Pro,官宣搭载荣耀鸿燕通信技术。

荣耀终端有限公司已申请注册3枚“荣耀鸿燕”商标,国际分类为教育娱乐、通讯服务、科学仪器,当前商标状态均为等待实质审查。

荣耀终端有限公司CEO赵明表示,荣耀鸿燕通信带来目前智能手机终端更好的卫星通信体验,荣耀要将这一解决方案通过产业链分享促进行业快速发展。希望智能终端卫星通信能够真正走入千家万户,让更多消费者享受随时随地、无处不在的卫星通信体验,引领国产手机全面进入卫星通信时代。

荣耀.jpg



9、十万个为什么商标被认定有效

“十万个为什么”系列书籍曾伴随着一代人的成长。北京知识产权法院近日通报,该院审结一起商标行政纠纷案。一家出版社向法院提起“十万个为什么”商标无效请求,法院在判决中认定“十万个为什么”具备商标显著特征,该商标依然有效。

2017年,“十万个为什么”商标被核准注册,尽管已受到法律保护,但冒用该商标的书籍仍层出不穷。某出版社认为,商标“十万个为什么”已成为指代百科类主题图书、期刊的通用名称,缺乏显著性,应宣告无效。

国家知识产权局认定,商标“十万个为什么”在书籍、印刷出版物等商品领域经长期使用已取得较高知名度及识别度,能够起到商标区分商品来源的作用,驳回了该出版社的请求。该出版社不服该裁定,向北京知识产权法院提起行政诉讼。

法官解释,具备显著特征是商标获准注册的一个重要条件。在判断商标是否具有显著特征时,一般以商标申请时的事实状态为准,如果核准注册时事实状态发生变化,应以核准注册时的事实状态为准。

商标经过长期宣传使用获得较高知名度后,可能会引起大量同业经营者竞相模仿,但并不意味着商标就此丧失显著性,而成为通用名称。

据此,法院认为,商标“十万个为什么”申请注册时未违反商标法规定,该商标在其指定商品上整体上具备显著特征,最终判决驳回该出版社的诉讼请求

微信截图_20240113162113.png






温馨提示:本文所引用的文章、使用的图片来自网络,已注明出处,不用于商业目的,版权归原作者所有。如有不妥,请留言告知。感谢!


有任何知识产权问题,欢迎咨询大麦知识产权!

风里雨里,大麦知识产权一直在您跨境品牌出海、产品出海路上,陪伴着您!