火爆全网的LED MASK电子面罩立案维权,恐有大批卖家已踩雷 !!!

2024-01-03

近期,一款LED电子面罩在亚马逊上爆火,其搞怪、酷炫、赛博朋克的设计风格符合年轻人审美,非常适合烘托节日气氛,深受海外消费者喜爱。
微信截图_20240102143914.png

微信截图_20240102144959.png

但小编发现,此款电子面罩已被案件“缠身”。就在2023年12月22日,BDL-Iplaw律所代理了电子面罩外观专利及发明专利,现已发起立案起诉侵权跨境卖家,今天就跟随小编了解一下案件信息及专利信息吧!



1、品牌介绍
Shenzhen Shining Bright Technology Co. LTD由Guofeng Feng成立于2016年,是一家专门销售光电产品、LED产品、灯光音响设备、电子产品及元器件的公司。

这款LED发光面具,采用全脸面具设计,用户可通过蓝牙连接手机APP实现LED面具自定义图片与动画展示。


2、案件介绍
起诉时间:2023年12月22日
案件号:23-cv-17065
维权类型:专利
原告品牌:Shenzhen Shining Bright Technology Co. LTD
代理律所:BDL-Iplaw


3、知产信息
本案涉及到一项外观专利与发明专利。电子面罩的外观专利于2020年12月28日递交,2022年11月29日获得授权,专利号为:US D971,348 S,以下为专利文件图示:
外观.png


需要注意的是,原告品牌名下同时持有多款外观专利,图示如下,卖家朋友们注意对比自查!
微信截图_20240102153327.png

电子面罩的发明专利于2021年9月26日递交,2022年9月6日获得授权,专利号为:US 11,435,970 B2,以下为专利文件图示:
US11435970B2_00.png

发明专利摘要说明
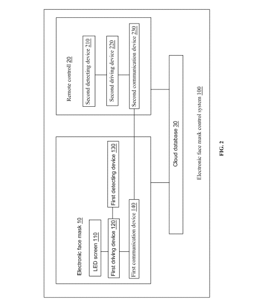
一种电子面罩控制系统。
电子面罩包括显示图像的LED屏幕、配置为控制LED屏幕的操作的第一驱动装置、与第一驱动装置连接的第一检测装置、以及连接到第一驱动装置的第一存储装置。
第一检测装置被配置为检测控制信号,第一存储设备被配置为存储本地数据。通过对第一检测装置进行信号检测,改变第一驱动装置控制的显示内容,并改变LED屏幕的显示内容。

发明专利独权说明

a.一种电子面罩,包括一个显示图像的二极管(LED)屏幕,配置为:用于控制LED屏幕操作的第一驱动装置,以及与第一驱动装置连接的第一检测装置;第一检测装置布置在电子口罩的前额的顶部中部,用于检测控制信号
微信截图_20240102160242.png


b.电子掩模控制系统包括遥控器,还包括第一通信装置;遥控器包括用于控制遥控器的第二驱动装置、连接到第二驱动装置的第二通信装置第二检测装置

第二通信装置配置为与第一通信装置通信;第二检测装置配置为感知用户操作,并生成控制响应操作指令,以发送给第二驱动装置;

c.电子口罩控制系统还包括云数据库,第二通信设备通过云数据库与第一通信设备进行通信;

d.第二通信装置配置为:在遥控器准备好向LED屏幕发送程序之前,首先确定遥控器和LED屏幕的电子掩模是否位于同一局域网中,并确定遥控器和电子掩模的定位。

在同一局域网中,电子掩模显示的图像通过局域网直接传输到LED屏幕上,在传输要显示的图像时,LED屏幕会自动将历史图像更新到云数据库,否则响应于判断遥控器与电子口置不在同一局城网内。遥控器会将待显示图像发送至云数据库,云数据库再将图像发送至电子面置,用于在 LED 屏幕上显示。
微信截图_20240102160231.png

LED MASK电子面罩已立案,若您不确定自己的产品是否侵权,欢迎留言,我们会帮助您进行产品的侵权对比分析,制定专利侵权规避方案。

若您已不慎被起诉,需要专业的侵权和解服务,可随时咨询大麦!

风里雨里,大麦知识产权一直在您跨境品牌出海、产品出海路上,陪伴着您!